|

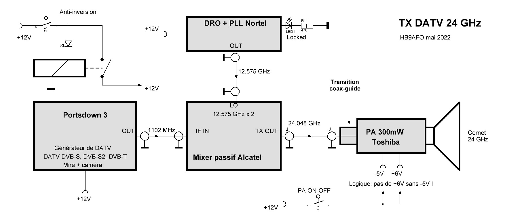
Schéma bloc du TX

Le TX 24 GHz

Sortie du PA
On voit bien que le signal utile, ici au centre (24,049GHz) ,est
plus faible que la bande latérale supérieure, qui elle est dans la
bande passante de l'ancien mixer. Si ce dernier était fait pour la
bande amateur, le signal y serait 20dB plus fort. Ce qui s'est avéré
juste avec le nouveau mixer.

L'oscillateur local 12,575 GHz
Très propre à -80dB et très stable, quelques Hz de variation en
quelques minutes.

Ancien mixer + PA, de 23 à 33 GHz

Ancien mixer + PA de 20 à 25,5 GHz
On voit bien que le PA amplifie ce qui sort du mixer hors bande
mais pas ce qui devrait l'être.

PA seul, centré à 24,048 GHz, span 1 GHz
Même gain sur toute la bande 24,0 à 24, 250 GHz.
|